安装环境:
Apache 2.4.46 php5.5 mysql5.6
安装步骤:
解压压缩包到根目录(必须独立目录)
然后把数据库sql.sql导入到数据库里面,可以用MYSQL数据库自带的工具,也可以用navicat数据库软件来导入数据库
数据库导入好后,需要修改数据库配置链接文件 Data/conf/db.php ,此文件用记事本打开会出错!!必须用 DW 或者 notepad++等专业编辑工具打开。
return array (
\\\\\\\'DB_TYPE\\\\\\\' => \\\\\\\'mysql\\\\\\\',
\\\\\\\'DB_HOST\\\\\\\' => \\\\\\\'localhost\\\\\\\', 改为数据库地址
\\\\\\\'DB_PORT\\\\\\\' => \\\\\\\'3306\\\\\\\',
\\\\\\\'DB_NAME\\\\\\\' => \\\\\\\'xxxxxx\\\\\\\', 改为实际数据库名
\\\\\\\'DB_USER\\\\\\\' => \\\\\\\'xxxxxx\\\\\\\', 改为实际用户名
\\\\\\\'DB_PWD\\\\\\\' => \\\\\\\'xxxxxx\\\\\\\', 改为实际密码
\\\\\\\'DB_PREFIX\\\\\\\' => \\\\\\\'tp_\\\\\\\',
\\\\\\\'agent_version\\\\\\\' => 1,
);
安装好以后,登陆后台 账户admin 密码www.ohbbs.cn
资源亲测前台截图:
![C145 PHP源码_微信投票管理系统源码下载独立版 含8种模版插图 C145 PHP源码_微信投票管理系统源码下载独立版 含8种模版插图]()

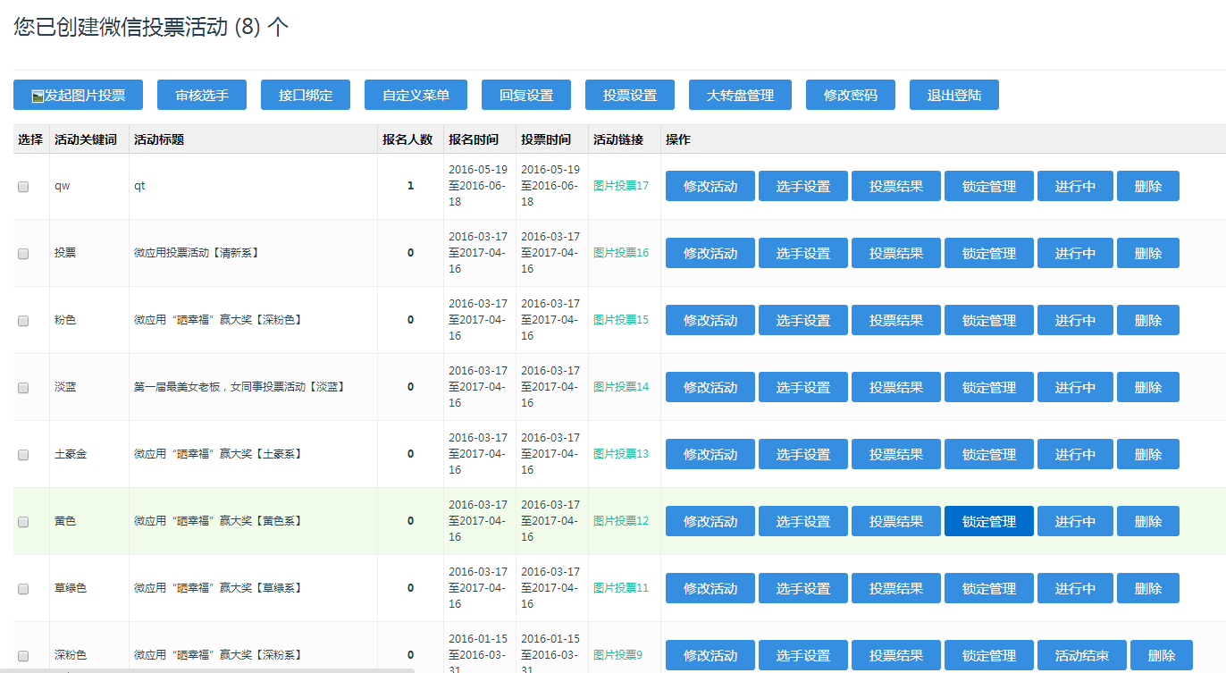
资源亲测后台截图: